A 'Man Amplifier' By Cornell Aeronautical Laboratories
- Daniel Holland

- Nov 4
- 2 min read

In the early 1960s, when science fiction was dreaming of cybernetic humans and mechanical men, real engineers in upstate New York were quietly working to make that dream a reality. At Cornell Aeronautical Laboratories (CAL) in Buffalo, a team of researchers began developing what they called the “Man Amplifier” — an early vision of the powered exoskeleton, decades before the term became mainstream.

The project stemmed from a 1961 research grant aimed at exploring how machines could enhance human strength, endurance, and precision. Inspired by the biomechanics of the human body, the engineers at CAL hoped to build a mechanical framework that could augment natural movement — essentially, a wearable machine that would multiply a person’s power.

Robert Wells’s 1966 book Bionics: Nature’s Ways for Man’s Machines included striking photographs of these early experiments. The images show skeletal frames of aluminium and steel designed to be worn like armour, intended to respond to the wearer’s slightest movement. The idea was that electrical sensors and servomechanisms could detect muscle impulses and replicate them with added mechanical strength.

Initial work at Cornell focused on theoretical papers and small experimental rigs. By the early 1960s, they were producing mock-ups — prototypes that hinted at future robotic exosuits. Although these early “man amplifiers” were never fully realised into functioning wearable machines, they marked a bold step towards what would later become modern robotics, prosthetics, and powered assistive suits.

It was, in many ways, a product of its era. The Cold War had ignited a fascination with human–machine integration, as both the military and scientific communities imagined soldiers and astronauts whose capabilities could be extended through technology. CAL’s man amplifier was an early expression of that ambition — half engineering, half imagination.

Today, when companies like Sarcos, Lockheed Martin, and DARPA unveil powered exoskeletons that help soldiers lift hundreds of pounds or allow paraplegics to walk again, they owe a quiet debt to those early Cornell experiments. The Man Amplifier was not just a concept; it was the first serious attempt to make the fusion of biology and machinery a reality.

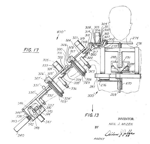
Neil Mizen's patent for the Man-Amplifier
POWERED EXOSKELETAL APPARATUS FOR AMPLIFYING HUMAN STRENGTH IN RESPONSE TO NORMAL BODY MOVEMENTS. Neil J. Mizen et al
Patent number: 3449769
Filing date: Jun 27, 1966
Issue date: Jun 17, 1969

There are a few articles on Cornell's Exoskeleton. The pdf's are :
Sources:
Wells, Robert. Bionics: Nature’s Ways for Man’s Machines. New York: E. P. Dutton, 1966.
Cornell Aeronautical Laboratories Research Reports, 1960–1963.
“Man Amplifiers and Exoskeleton Concepts.” Popular Science, November 1963.
DARPA archives on early bionic research, www.darpa.mil










































































































Comments